| |
|
二、精细过滤器系列
|
| 型号标注 |
|
|
(一)袋式精细过滤器JGB型
袋式精细过滤器是由滤袋、滤筐、壳体三部分构成一个简便、高效、经济的过滤系统,需要过滤的流体进入滤袋,固体杂质被阻挡在袋内,从而得到清洁的流体。由于其使用方便,经济合理,因而广泛使用于石油产品,化工产品、化妆品、油漆、涂料、油墨、植物油、电镀液、废水等方面过滤。
我们所提供的滤袋已通过了ISO9000质量认证、过滤精度为 1-800mm,构成滤袋的纤维材料有尼龙、聚丙烯、聚脂、聚芳酰胺、氟塑料、羊毛等,选用时应根据不同介质,过滤时化学条件及温度来确定。
有关各种纤维的特性请参阅附表四。
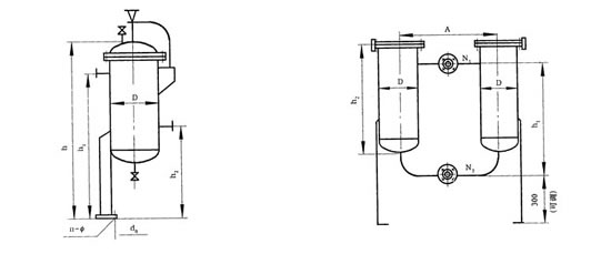
1、单袋式精细过滤JGB-I型见图25、图26、表22 |
|
|
| 图25 JGB-IA型 图26 JGB-IB型 |
| SC III型 表22 |
|
型 号
|
流量
m3/h
|
过滤面积
m2
|
过 滤 尺 寸
|
进出口
N1 N2
|
|
h
|
H
|
A
|
D
|
|
JGB-I A
|
12
|
0.16
|
420
|
480
|
100
|
Φ114
|
G1 1/4"
|
|
JGB-I B
|
36
|
0.5
|
800
|
880
|
310
|
Φ219
|
DN50 PN1.6
|
|
2、 多袋式精细过滤器JGB- II型见图27、表23
SBL II型 表23 |
|
型 号
|
流 量
m3/h
|
滤袋数
|
过 滤 尺 寸
|
进出口
N1 N2
|
|
H1
|
H2
|
h
|
D
|
d0
|
n-Φ
|
|
JGB-3II
|
108
|
3
|
1650
|
750
|
2100
|
Φ600
|
Φ560
|
3-Φ26
|
DN100 PN1.6
|
|
JGB-4II
|
144
|
4
|
1650
|
750
|
2100
|
Φ600
|
Φ560
|
3-Φ26
|
DN125 PN1.6
|
|
JGB-6II
|
216
|
6
|
1650
|
750
|
2200
|
Φ800
|
Φ750
|
3-Φ26
|
DN150 PN1.6
|
|
JGB-8II
|
288
|
8
|
1700
|
800
|
2380
|
Φ900
|
Φ840
|
4-Φ26
|
DN200 PN1.6
|
|
JGB-10II
|
360
|
10
|
1950
|
1000
|
2850
|
Φ1000
|
Φ940
|
4-Φ26
|
DN250 PN1.6
|
|
JGB-12II
|
432
|
12
|
1950
|
1000
|
2850
|
Φ1000
|
Φ940
|
4-Φ26
|
DN250 PN1.6
|
|
JGB-16II
|
576
|
16
|
2130
|
1110
|
2950
|
Φ1200
|
Φ1140
|
4-Φ26
|
DN300 PN1.6
|
|
JGB-18II
|
648
|
18
|
2130
|
1110
|
2950
|
Φ1200
|
Φ1140
|
4-Φ26
|
DN350 PN1.6
|
|
注:1、表中所列流量以水为介质。
2、本图示仅一种形式,其余可参阅附图。 |
|
|
| 图27 JGB-II型 图28 JGB-III型 |
3、 双联袋式精细过滤器JGB-III型见图28、表24
JGB-III型 表24 |
|
型 号
|
流量
m3/h
|
过滤面积
m2
|
安 装 尺 寸
|
进出口N1 N2
PN1.6
|
|
h1
|
h2
|
A
|
D
|
|
JGB-III A
|
24
|
0.32
|
480
|
480
|
450
|
Φ114
|
DN40
|
|
JGB-III B
|
72
|
1.0
|
980
|
980
|
740
|
Φ219
|
DN65
|
|
| 注:表中所列流量以水为介质 |
| |